View Categories

คู่มือการใช้งานพัดลมติดท่อ รุ่น FN801CUBE,FN801SC-xxxx, FN801M-xxxx

< 1 min read

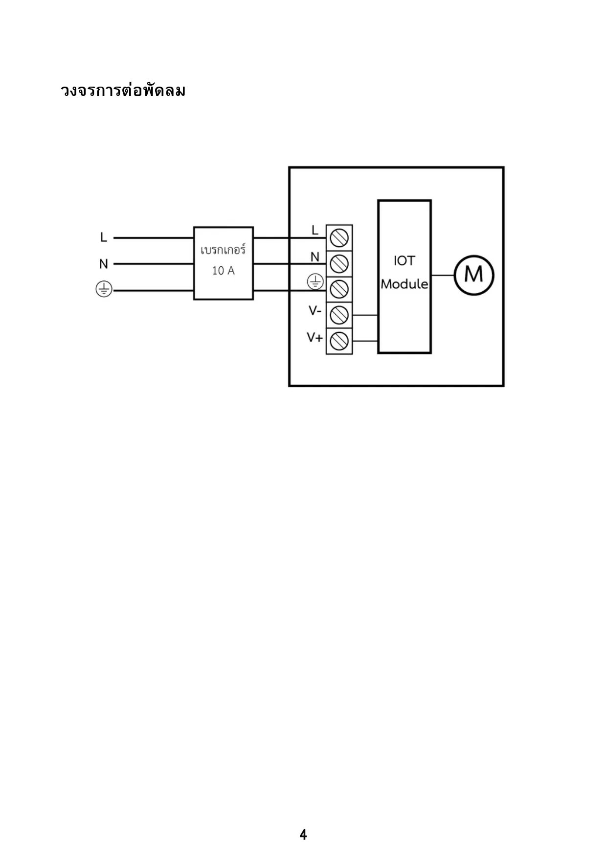
คู่มือการใช้งานสำหรับพัดลมติดท่อ FreshNergy รวมถึงการตั้งค่าแอปพลิเคชันและการเชื่อมต่อ IOT #

Powered by BetterDocs